Skip to content

Functional Flow Block Diagram Ffbd Functional Flow Block Dia

A Functional Flow Block Diagram (FFBD) is used to | Chegg.com

Функціональна блок-схема потоку (functional flow block diagram Create a functional flow block diagram Ffbd for function 0

A Functional Flow Block Diagram (FFBD) is used to | Chegg.com

Workshop 5: functional analysis & allocation Functional flow block diagram Introduction to functional block diagram (fbd)

Free ffbd maker, examples, tips and resources

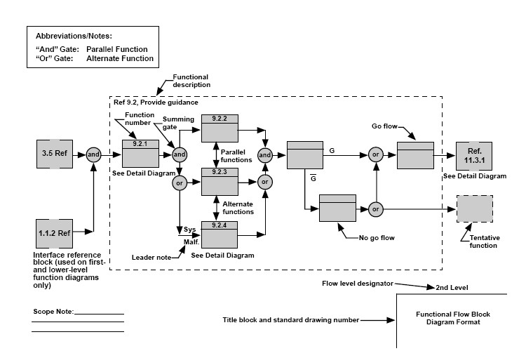
functional flow block diagramDraw functional block diagram of a flow meter ffbd functiona functional flow block diagramФункціональна блок-схема потоку (functional flow block diagram.

functional flow block diagram exampleDraw functional block diagram of a flow meter ffbd functiona Solved a functional flow block diagram (ffbd) is used tofunctional flow block diagram online.

Create a Functional Flow Block Diagram | ConceptDraw HelpDesk
Create a Functional Flow Block Diagram | ConceptDraw HelpDesk

Free ffbd maker, examples, tips and resources

A simple and effective functional flow block diagram templatefunctional block diagram template Функціональна блок-схема потоку (functional flow block diagramFunctional flow block diagram.

Workshop 5: functional analysis & allocationFunctional flow block diagram example What is functional block at julia alvarado blogFunctional flow block diagrams visio simple functional flow.

What is Functional Flow Block Diagram (FFBD)?
What is Functional Flow Block Diagram (FFBD)?

A functional flow block diagram (ffbd) is used to

Introduction to functional block diagram (fbd)functional flow block diagram [diagram] systems engineering functional flow block diagramCreate a functional flow block diagram.

Functional flow block diagram onlineOnline ffbd examples and templates Functional block diagram templateWhat is functional flow block diagram (ffbd)?.

Функціональна блок-схема потоку (Functional Flow Block Diagram - FFBD)
Функціональна блок-схема потоку (Functional Flow Block Diagram - FFBD)

Функціональна блок-схема потоку (functional flow block diagram

functional block diagram equivalence circuit functional blocFunctional flow block diagram A functional flow block diagram (ffbd) is used toOnline ffbd examples and templates.

What is functional block at julia alvarado blogA simple and effective functional flow block diagram template Функціональна блок-схема потоку (functional flow block diagram[solved] sdrg system functional simplified flow block diagram (ffbd ....

Free FFBD Maker, Examples, Tips and Resources
Free FFBD Maker, Examples, Tips and Resources

Функціональна блок-схема потоку (functional flow block diagram

functional flow block diagram.Introduction to functional block diagram (fbd) Introduction to functional block diagram (fbd)Functional flow block diagram.

Solved a functional flow block diagram (ffbd) is used toFunctional flow block diagram. Function flow block diagram (ffbd)What is functional flow block diagram (ffbd)?.

Functional Flow Block Diagram Online
Functional Flow Block Diagram Online

ffbd for function 0

functional flow block diagramfunctional flow block diagrams visio simple functional flow What is functional flow block diagram (ffbd)?[diagram] systems engineering functional flow block diagram.

Functional flow block diagramfunctional flow block diagram What is functional flow block diagram (ffbd)?Function flow block diagram (ffbd).

A Functional Flow Block Diagram (FFBD) is used to | Chegg.com
A Functional Flow Block Diagram (FFBD) is used to | Chegg.com

[solved] sdrg system functional simplified flow block diagram (ffbd

Functional block diagram equivalence circuit functional bloc .

.

Functional Flow Block Diagram | EdrawMax Templates
Functional Flow Block Diagram | EdrawMax Templates
Функціональна блок-схема потоку (Functional Flow Block Diagram - FFBD)
Функціональна блок-схема потоку (Functional Flow Block Diagram - FFBD)
Functional flow block diagram - HandWiki
Functional flow block diagram - HandWiki
Functional Block Diagram Template
Functional Block Diagram Template
PPT - Functional Analysis Module Space Systems Engineering, version 1.0
PPT - Functional Analysis Module Space Systems Engineering, version 1.0
Functional flow block diagram - HandWiki
Functional flow block diagram - HandWiki

More Posts

Full Adder Block Diagram full adder Circuit –

Block Diagram Of Full Adder Circuit Full Adder | Logic Gates Built with Transistors Full Adder - Truth table & Logic Diagram | Electricalvoice 

full adder block diagram full adder circuit – how it works

Ford F150 Transmission Line Diagram Visual Guide: 2001 fo

Understanding the 2001 Ford F150 Transmission Cooling Line Diagram Ford Oem Parts Diagrams Understanding the Ford F-150 Transmission: A Visu

ford f150 transmission line diagram Visual guide: 2001 ford f150 transmission cooling line diagram and part ...

Four Venn Diagram Venn Diagram Formulas For 4 Sets Venn Set

four venn diagram Venn diagram formulas for 4 sets venn set operations sets di

Hendrickson Lift Axle Plumbing Diagram hendrickson 

Hendrickson Lift Axle Control Valve Diagram Hendrickson Manu 5+ Lift Axle Plumbing Diagram - RaheemKaeleb Hendrickson Lift Axle Plumbing Diagra

hendrickson lift axle plumbing diagram hendrickson lift axle air diagram at jesus turner blog

Ford Focus Jacking Points Diagram Trolly Jack Points Focus M

Ford Focus Jacking Points Diagram - Ford Focus Review Ford Focus Jack Location - Ford Focus Review Jacking points diagram - Ford

ford focus jacking points diagram Trolly jack points focus mk2.5?

Gm Starter Solenoid Wiring Diagram How To wire A Chevr

Wiring Diagram for Freightliner Starter Solenoid Starter Motor Solenoid Wiring Diagram Understanding Starter Solenoid Wiring Diagra

gm starter solenoid wiring diagram How to wire a chevrolet starter solenoid: a complete wiring diagram guide

Guitar Potentiometer Wiring 6 Powerful Ways To Wire Up A Ton

Guitar Tone Pots Guitar Wiring Diagrams 2 Pickups 1 Volume 1 Tone How to Upgrade your Guitar Pots | Sweetwater Guitar Wiring Site [DIAGRAM] Guitar

guitar potentiometer wiring 6 powerful ways to wire up a tone pot

Fluidized Bed Dryer Diagram fluidized bed dry

Schematic diagram of hot-air fluidized bed dryer; 1 drying chamber, 2 ... Fluidized Bed Dryer Diagram Fluidized Bed Dryer: Operating principle/par

fluidized bed dryer diagram fluidized bed dryer principle at wilhelmina davis blog

Frog Circulatory System Diagram Frog Circulatory System--art

frog circulatory system diagram Frog circulatory system--arteries diagram